Patente
- Patentübersicht aller Patente
-
Nondestructive crack testing of rotor blade slots & ultrasound device
-
Device and method for taking a sample
-
Inspection vehicle
-
Ultrasound measuring assembly for pipe wall thickness
-
Testing of slot breech wedges of a generator rotor
-
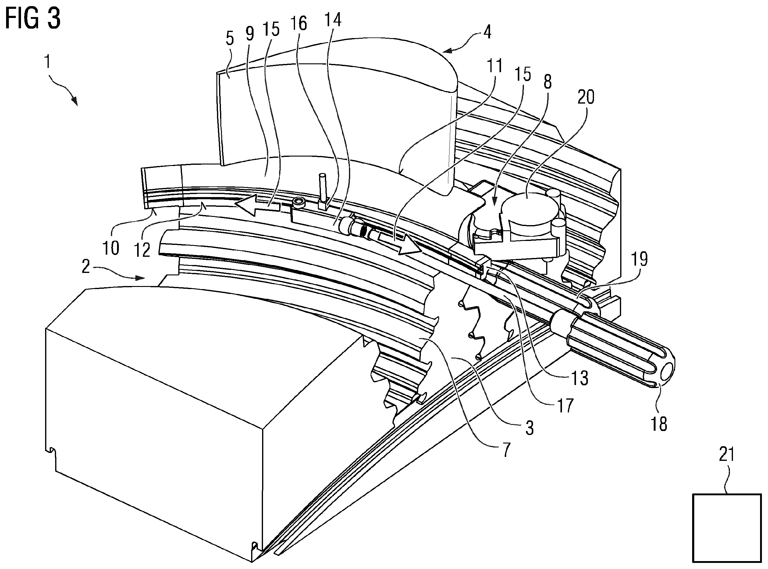
Device and method to perform ultrasonic testing of turbomachines
-
Additive manufacturing of gas turbine components using carbon nanostructures
-
Process for laser beam cleaning of component surfaces and laser beam cleaning device
Veröffentlichungen
- Research Gate
-
Advanced NDE inspection methods for detection of SCC in blade attachments and blade roots
-
A Materials Science Study: Molecular-Dynamics Simulations of Crack Propagation and Martensitic Transformation
-
Advanced Ultrasonic application for the inspection of turbine components
-
Energy forum: Steam turbine maintenance for blade bases and mounting slots